2022-11-03

谈“指”色变,旺季热卖侵权防范要提前“预”见!

中国的双十一,美国的黑五,紧张又充满期待的十一月已经来临,这充满购物狂欢的氛围注定是商家大卖的好时机!

指尖玩具适用人群广泛,既可锻炼注意力、还可以得到解压效果,可以说是老少皆宜,今天我们就这类产品做一下侵权排查:

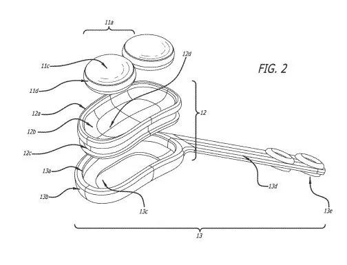
这款指尖玩具,使用2个磁铁,可以轻弹、旋转、堆叠和翻转,背面还可以发射,像是一个用于手指的磁性滑板,带有磁性的皮带,可以快速拆卸,让玩耍同时还有额外的特技表演。

检索中发现品牌方POPSOCKETS已经在今年2月成功注册了美国商标14类和28类:

经过专利排查,POPSOCKETS公司专利是通过PCT通道,指定了上百个国家的申请,各站点相关产品外观要避开其专利图的设计特点。

原文转载:http://fashion.shaoqun.com/a/1193066.html


什么是亚马逊真人评测?真人测评的重要性:https://www.ikjzd.com/articles/125532
谨防踩坑!亚马逊3大种类侵权 !!:https://www.ikjzd.com/articles/125533
物流延迟在所难免!明年1月起入欧盟商品面临全面边境检查:https://www.ikjzd.com/articles/125534
FNSKU是制造商条形码?如何改为亚马逊条形码?:https://www.ikjzd.com/articles/125535
跨境一周要闻:印尼对亚马逊等征收10%增值税!:https://www.ikjzd.com/articles/125536
贝索斯前妻净资产623亿美元, 全球男女首富!:https://www.ikjzd.com/articles/125537
外网:https://m.ikjzd.com/tl/12215
燃油附加:https://m.ikjzd.com/articles/1755
ppc:https://www.ikjzd.com/w/152
如何玩转亚马逊营销视频推广(1):https://www.ikjzd.com/articles/1587739747849953282
海外线上购物订单暴涨129%?这些传统外贸卖家在亚马逊收获满满!:https://www.ikjzd.com/articles/1587727277877850113

No comments:

Post a Comment